002121,“断臂求生”!算力巨头超聚变震撼登场,概念股曝光

Connor 欧意交易所 2025-03-24 29 0

数据是个宝

数据宝

投资少烦恼

实力派公司超聚变高调出道。

科陆电子2024年巨亏4.64亿元

3月21日晚,科陆电子(002121)披露2024年年报,公司2024年净亏损4.64亿元,上年同期净亏损5.29亿元。

公司于2007年上市,2018年公司自上市以来首次亏损超12亿元,2019年持续亏损近24亿元,2020年扭亏。然而,自2021年以来,公司再次陷入持续亏损的状态。经计算,公司2018年至2019年,以及2021年至2024年合计亏损超过53亿元,自上市以来实现盈利的年份净利润合计不到18亿元,亏损额是盈利额的3倍左右。

公司是国内领先的能源领域的综合服务商,主要业务涉及智能电网和新型电化学储能领域,其第一大股东是美的集团。对于2024年度的亏损,公司解释主要系资产减值损失,以及受储能研发投入加大,对应薪酬费用增加等因素影响。

在公布年报的同时,公司还宣布拟将其全资子公司南昌市科陆智能电网科技有限公司100%股权以人民币1.25亿元的价格转让给南昌康鑫泰商贸有限公司。此外,公司还公告,为确保产能规划更好地匹配公司业务发展需求,提升资金使用效率,切实维护公司及全体股东利益,经审慎研究,公司拟终止佛山储能产业园项目的建设并注销对应的项目公司。

从二级市场来看,自2023年初至2025年最新收盘日,公司股价遭腰斩,不过2025年内公司股价小幅涨6%左右。在股吧上,有股民认为,公司亏损大部分为计提,预计未来业绩会走上正轨。

002121,“断臂求生”!算力巨头超聚变震撼登场,概念股曝光

超聚变“高调出道”

近期,一家名为“超聚变”的公司频繁进入大众视野。2025年3月18日,河南省省长王凯到超聚变数字技术有限公司(下称“超聚变”)调研生产经营、技术研发等情况,他勉励企业加快建设高能级创新平台,加大技术研发投入力度,推动科技创新和产业创新深度融合,不断巩固行业领先优势。

展开全文

去年3月,华为更新硬件合作伙伴级别名单,其中鲲鹏振宇与超聚变升级为华为战略级伙伴。

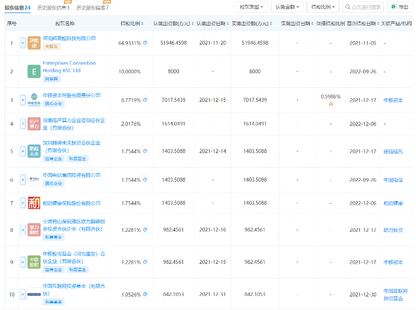
超聚变原为华为服务器业务,受诸多因素影响,2021年华为剥离超聚变。目前,超聚变由河南超聚能科技有限公司、中国电信、中国移动旗下中移资本、申万宏源等公司共同持股,其中河南超聚能科技有限公司为公司第一大股东。

公司致力成为全球领先的算力基础设施与服务提供者,加速行业数字化转型,让算力更好地服务大众。超聚变在全球部署9个研发中心与6大供应中心,并设立6个全球技术服务中心与7个地区部,服务于全球100多个国家和地区客户,覆盖运营商、金融、互联网、政企等行业。

超聚变在2024年中国算力大会上荣获“算力中国·年度重大成果”和多项“创新先锋案例”,展示了其在液冷技术和AI算力基础设施方面的领先地位。

002121,“断臂求生”!算力巨头超聚变震撼登场,概念股曝光

超聚变位居中国服务器市场

销售额、出货量第二

据中金公司测算,2025年国内CSP(云服务提供商)牵引的数据中心投资总量有望达到近4000亿元,同比增速79%;叠加电信运营商的算网投资,头部CSP及运营商的数据中心合计投资额有望达到近5000亿元,至2027年有望进一步超过6000亿元。作为数据中心IT硬件的核心组成部分,中金预期2025年,国内CSP与电信的数通服务器市场空间有望达到2632亿元;以太网交换机和光模块市场空间分别为189亿元和227亿元。

根据公开报道,2022年,超聚变实现营业收入235亿元,位列中国通用服务器市场第三,AI服务器份额更是居中国第二。国际数据公司(IDC)发布报告显示,2023年超聚变标准液冷服务器整体市场份额占比达43%,以近4.2万台的出货量,稳居中国标准液冷服务器市场份额第一名。公司官网信息显示,超聚变在2024年中国服务器市场销售额、出货量排名第二。

随着数据中心投资的增长以及液冷服务器市场的快速发展,超聚变有望在未来几年继续保持业务增长,其市场规模可能会随着整体市场的增长而扩大。

18只超聚变概念股出炉

作为一家实力极强的公司,超聚变在逆境中“涅槃重生”,其亮相备受资本市场关注。自去年以来,坊间不断有传闻超聚变欲借壳上市,且预计其市值或达到900亿元。不管传言是否属实,但市场对超聚变借壳上市预期非常强烈,其产业链上市公司也获得较高的关注度。

据证券时报·数据宝不完全统计,与超聚变在股权关系、产业链、技术合作等方面有一定关联的公司接近20家,包括荣科科技、同飞股份、亚康股份、天源迪科等。

市场表现方面,截至3月20日,超聚变相关概念股年内平均涨幅接近20%,涨幅居前的有祥鑫科技、汇洲智能、强瑞技术。其中祥鑫科技是超聚变服务器供应商,在产品、服务、云等领域与超聚变有长期合作,公司年内涨幅超过80%。强瑞技术子公司为超聚变数字技术有限公司提供散热产品,公司年内涨幅超过35%。

从业绩来看,2024年业绩扭亏公司有荣联科技、华胜天成及金信诺,其中超聚变为荣联科技提供相关产品与技术支持;华胜天成是超聚变的核心合作伙伴,金信诺是超聚变服务器内部高速组件供应商。

在杠杆资金变化方面,超聚变相关概念股中,有13家公司为融资客标的,其中年内获加仓公司有8家,最新融资余额较去年末增加超过100%的公司有祥鑫科技、强瑞技术及天源迪科,前2家公司年内均获得20家以上机构调研。

002121,“断臂求生”!算力巨头超聚变震撼登场,概念股曝光

声明:数据宝所有资讯内容不构成投资建议,股市有风险,投资需谨慎。

责编:何予

校对:王蔚

评论